用途
GDZ-24、32、46、64型二次插頭座是在吸收、消化西門子產 品技術的基礎上,開發的具有國際先進水平的升級換代新產品。 系9BK20(配3AF、3AH、ZN65)等KYN18-12中置式高壓開 關柜二次線中連接之用。產品各項技術性能符合GB2906-1991 《3~35kV交流金屬封閉開關設備》的有關規定。
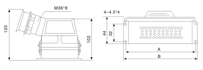
型號 A B 觸頭對數量(對) GDZ-46 130 140 46
結構特點
GDZ-24、32、46、64型二次插頭座的接觸對為插針、插孔或結構、接觸對數分別為32、46、64對,可自地選擇接觸對的使用數量。
與進品同類產品相較,改進了插頭座與軟管連接的接頭(喇叭口)及固定座,與專用附件M36×8塑料軟管(肉襯覆塑金屬彈簧)相配套,整體外形美觀,手感舒適,操作方便;且有導向定位裝置,可避免因使用不小心而造成誤插?!?br />
接線方式:打開插頭座的鎖緊裝置,把插頭與插座分開,把導線放入插針和插孔的接線孔內,用專用夾鉗夾緊牢固后,把插針和插孔分別放入插頭和插座基座對應的固定孔內,聽以“啪” 響,表示已安裝到位;將插頭線束從引線口引出后,配上專用附件M36×8塑料軟管(內襯覆塑金屬彈簧),另一端用專用拐頭固定在設備上;插座線束從底下引出固定在設備上。
GDZ-24、32、46型(改進型)專用卸下工具
如遇持針、插孔因誤裝需調換時,可使用本廠所提供的專用卸下工具(撥叉)靈活卸下,不會損傷插針、插孔的表面鍍層及插頭座基座,可重新使用。使用方法:將撥叉插入需調換的插針或插孔基座的扇形孔內的大徑中,輕輕拔出撥叉,則插針或插孔就會隨撥叉一起出來;若不掉出,則可從插針的頭部往后頂一下,或用細棒放入插孔內往后頂一下即可。
基本參數 額定電壓:交流380V,直流220V; 額定電流:交流16A,直流10A; 機構壽命:2000次連接、分開。
外形及安裝尺寸:
